北京市丰台区2021届上学期高三年级期末练习生物试卷

本试卷满分共100分,作答时长90分钟。

 

一、选择题(15道小题,共30分。每小题只有一个选项符合题目要求。)

1. 2020年诺贝尔生理学或医学奖授予了三位发现丙肝病毒的科学家。丙肝病毒与乙肝病毒都是靠血液传播并且会导致严重肝脏疾病的肝炎病毒,不同的是丙肝病毒的遗传物质含有A、U、C、G四种碱基。下列叙述正确的是

A. 乙肝病毒和丙肝病毒都是营寄生生活的原核生物

B. 丙肝病毒虽然不含有线粒体但可以进行有氧呼吸

C. 丙肝病毒易发生变异是由于其遗传物质是RNA

D. 乙肝病毒的遗传物质由4种核糖核苷酸构成

2. 某同学用紫色洋葱(2n=16)制备临时装片观察细胞的有丝分裂,显微镜下的图像如图所示,下列叙述正确的是


A. 取新鲜的洋葱鳞片叶外表皮制作临时装片

B. 镜检时需要先在低倍镜下找到分生区细胞

C. 细胞①有8个四分体,②有32条染色体

D. 用龙胆紫处理细胞①会使染色体数加倍

3. ATP注射液主要用于心功能不全、脑出血等后遗症的辅助治疗。研究发现ATP可以作为兴奋性神经递质与中枢及外周神经系统、内脏等多处细胞膜上的受体结合。与自身合成的ATP相比,注射浓度远低于细胞内,几乎不能进入细胞。下列叙述正确的是

A. 注射的ATP主要通过为心、脑细胞内代谢反应供能而发挥治疗作用

B. 注射的ATP作为辅助治疗药物主要是利用了其信号分子的作用

C. 1个ATP分子中含有1分子核糖、1分子腺苷和3分子磷酸基团

D. 肝细胞中的ATP主要通过有氧呼吸第三阶段在线粒体基质产生

4. 大豆中的大豆异黄酮分子结构与人雌性激素相似,进入人体后能发挥微弱的雌性激素效应。下列有关食用大豆(或豆制品)对人体影响的叙述不正确的是

A. 会引起血液中促性腺激素的含量降低 B. 大豆异黄酮能与人雌性激素受体结合

C. 体内大豆异黄酮含量受到下丘脑调节 D. 可以缓解雌性激素水平低下者的症状

5. HIV(人类免疫缺陷病毒)是一种逆转录病毒,下列有关该病毒的叙述正确的是

A. 在逆转录酶的催化下遗传物质以半保留的方式进行复制

B. 以病毒的核酸为模板进行转录进而合成HIV的核糖体

C. HIV的蛋白质是在宿主细胞的核糖体上经脱水缩合形成的

D. HIV遗传信息的传递和表达过程可以表示为

6. B细胞的活化需要抗原的接触、T细胞表面分子变化并与B细胞结合,以及T细胞分泌的细胞因子的共同作用。根据B细胞和浆细胞电镜图,有关叙述不正确的是


A. 甲为B细胞,能进行有丝分裂和分化

B. 甲形成乙时遗传物质和膜蛋白发生了变化

C. 乙为浆细胞,可能来自B细胞或记忆B细胞

D. 乙中富含核糖体和内质网,但不能识别抗原

7. 用EMS处理野生型水稻wt得到了mp和ac两个矮秆突变体,利用两个突变体进行了杂交实验,结果如下表。进一步研究发现,mp突变基因定位在11号染色体上,ac突变基因定位在1号染色体上。下列有关叙述不正确的是

杂交组合

F1是否表现突变特征

F2

突变型植株数

野生型植株数

wt×mp

102

310

mp×wt

95

290

wt×ac

74

208

ac×wt

85

260

A. 两个矮秆突变体均为隐性单基因突变

B. mp突变体的自交后代全部为矮秆表型

C. 两对矮秆突变基因的遗传符合自由组合定律

D. mp与ac杂交得到的F2中突变型占100%

8. 一对外表和智力均正常的夫妇生出一名18-三体综合征的胎儿,对三人进行染色体检查发现,丈夫染色体正常,图a表示妻子的18号染色体结构及其经减数分裂后可能出现的结果,图b表示胎儿的18号染色体结构。下列相关叙述不正确的是


A. 妻子和胎儿的染色体均发生了结构变异

B. 胎儿的18号染色体部分区段出现了三体

C. 妻子18号染色体上的基因排列顺序改变

D. 这对夫妇若再生一个孩子正常的概率为0

9. 绵羊尾部脂肪的差异与plin基因有关。对宁夏某养殖合作社的三个绵羊群体中plin基因的PCR产物进行检测后发现,plin基因在该绵羊群体中存在3种基因型,其基因型频率如下表。下列有关该绵羊群体的叙述正确的是

绵羊

基因型频率/%

TT型

CT型

CC型

滩羊

3

40

57

小尾寒羊

7

57

36

滩湖羊

3

83

14

A. 滩羊、小尾寒羊和滩湖羊中T基因的频率相同

B. 用3对不同的引物进行扩增并对PCR产物测序

C. 滩羊和小尾寒羊杂交后代将继承全部优良品质

D. 人工选择使等位基因C、T的频率发生定向改变

10. 在大鼠中,表现出良好育婴行为的雌鼠的后代相较于表现出较少育婴行为的雌鼠的后代,会产生较少的焦虑行为,大脑海马区糖皮质激素受体(GR)含量也更多。通过比较两种雌鼠后代的gr基因,发现二者基因序列并没有改变,但较少育婴行为雌鼠的后代在gr基因启动子位点上的甲基化程度更高,并且这种差异和焦虑行为可以遗传给下一代。下列相关叙述不正确的是

A. 焦虑行为是否遗传给下一代主要由基因的碱基序列决定

B. 导致两种后代焦虑行为不同的是亲代的育婴行为

C. 不同的育婴行为影响了gr基因相关位点的甲基化水平

D. gr基因的甲基化干扰了与焦虑相关的激素受体基因的转录

11. 破伤风外毒素是由破伤风杆菌产生的一种强毒性蛋白质,该毒素经脱毒处理后可制成类毒素。下图是关于这种类毒素的一组免疫学实验,相关叙述不正确的是


A. 注射的外毒素可引起小鼠产生特异性免疫

B. 乙组小鼠注射的免疫血清中含抗外毒素抗体

C. 注射的类毒素使小鼠体内产生了记忆细胞

D. 注射的类毒素可以与外毒素特异性结合

12. 用不同浓度的赤霉素对甜叶菊扦插苗进行浸泡处理,一段时间后,测量其根粗、根长及生根数,结果如下表所示,下列相关叙述正确的是

浓度/(mg·L-1

根数/条

根粗/mm

根长/cm

0

3.7

0.17

2.9

100

5.5

0.29

4.2

200

4.2

0.22

3.2

300

3.8

0.21

3.0

400

2.5

0.16

2.3

500

2.2

0.11

1.3

A. 用0mg·L-1赤霉素处理以排除内源激素对结果的影响

B. 用较高浓度的赤霉素处理甜叶菊会使其比较容易生根

C. 500mg·L-1比100mg·L-1赤霉素对生根的促进作用弱

D. 应选用100mg·L-1的赤霉素促进甜叶菊侧芽的伸长生长

13. 对某芦苇地区的研究发现,东方大苇莺为当地留鸟,繁殖较早,棕头鸦雀为迁徙鸟,繁殖较晚。大杜鹃通常将卵产于东方大苇莺和棕头鸦雀的巢中,大杜鹃幼鸟先于宿主的子女孵化出来并把其它卵推出巢穴,造成宿主无法繁殖后代。该地90%以上的大杜鹃卵发现于东方大苇莺巢中,大杜鹃卵的大小和卵色高度模拟东方大苇莺。而东方大苇莺一旦发现大杜鹃就会攻击,其中87%的攻击行为中有邻居的参与。下列有关叙述不正确的是

A. 远离邻居的东方大苇莺巢更容易被大杜鹃成功寄生

B. 大杜鹃更倾向于选择攻击性强的宿主来进行巢寄生

C. 不同宿主的种群数量差异会影响大杜鹃对宿主的利用

D. 邻里互助防御行为是长期协同进化形成的反寄生策略

14. 某研究性学习小组进行果酒、果醋发酵实验。下列相关叙述正确的是

A. 先供氧进行果醋发酵,然后隔绝空气进行果酒发酵

B. 适当加大接种量可以提高发酵速率,抑制杂菌繁殖

C. 实验所需要的醋酸杆菌通过无丝分裂繁殖后代

D. 果酒发酵所需的最适温度高于果醋发酵

15. 油菜容易被线虫侵染造成减产,萝卜具有抗线虫病基因。科研人员以萝卜(2N=18)和油菜(2M=38)为亲本杂交(每个大写字母表示一个染色体组),通过如图所示途径获得抗线虫病油菜。下列有关叙述正确的是


A. 此过程利用了植物体细胞杂交和植物组织培养技术

B. 用秋水仙素处理F1植株幼苗可获得异源四倍体

C. P植株与油菜杂交产生的Q植株染色体数目为47

D. 从P、Q植株中可筛选到抗线虫病基因的纯合体

 

二、非选择题(6道题,共70分)

16. (11分)小球藻是一种单细胞绿藻,光合作用旺盛,繁殖速度快,不但可以净化水源,还是水生动物的良好饲料。请回答下列问题:

(1)存在于小球藻叶绿体_____________上的光合色素可将光能转化为______________等物质中活跃的化学能,并用于_______________反应中碳水化合物的合成。

(2)在光照等适宜的条件下,利用H218O对小球藻进行培养,可能出现的实验现象及相关解释合理的是____________(填选项前的序号)


A. 锥形瓶侧壁可见气泡附着,主要是小球藻叶绿体产生的18O2

B. 培养液的绿色逐渐加深,是由于小球藻破裂释放出叶绿素

C. 培养液的pH略有升高,因为小球藻光合作用消耗了CO2

D. 小球藻的有机物总量减少,因为光合作用消耗了有机物

E. 小球藻的有机物能检测到18O,是由于小球藻光合作用利用H218O合成葡萄糖

(3)为缓解能源危机,科研工作者希望从培养的小球藻内提取油脂,作为生产生物柴油的原料。将处于对数期的小球藻用不同条件进行培养,并检测收获的干物质量及油脂含量,结果如下图所示:


注:+N组的处理是在含氮培养液中培养20天

-N组的处理是在缺氮培养液中培养2天

据图分析,更适合对数期小球藻进行油脂生产的培养条件是_______________,其优点是_______________。在氮胁迫条件下,小球藻会降低蛋白质、淀粉的合成,转而合成更多的油脂,请从元素组成和能量角度分析小球藻调整物质合成的意义_____________________。

17. (13分)光通过调控生物钟来影响生物的昼夜节律。科学家从果蝇体内克隆出per基因,并对其调控昼夜节律的分子机制展开研究。

(1)在细胞核中,per基因在_______________的催化下形成per-mRNA,后者通过_______________进入细胞质,在_______________上合成出PER蛋白。


(2)科学家模拟自然条件对果蝇进行”12h光照-12h黑暗”处理,检测细胞内相关物质含量,并绘制曲线图(图1)。进一步研究发现,PER蛋白在光照下不稳定,易分解,但在夜晚却达到一定浓度并进入细胞核。据以上资料,请在括号内用”+”、”-”表示出per-mRNA和PER蛋白之间的关系:


(3)tim基因广泛存在于真核细胞内,TIM蛋白可以和PER蛋白结合形成稳定的PER-TIM二聚体,并引导PER蛋白进入细胞核。因此,科学家推测TIM蛋白上存在核定位序列。为验证上述结论并确定核定位序列在TIM蛋白上的位置,研究人员将GFP(绿色荧光蛋白)连接在不同长度的TIM蛋白上,再用荧光显微镜在相应波长激发光下观察细胞,有了如图2所示的发现。


注:图中数字表示TIM蛋白上的氨基酸序号

①据图判断,TIM蛋白上核定位序列的精确位置在_______________序列之间。

②为验证TIM蛋白引导PER蛋白入核,将tim基因、per-gfp融合基因转入真核细胞内表达,观察细胞核中是否显示绿色荧光。请对该实验方案加以完善。_______________


(4)进一步研究发现,在光照下,CRY蛋白能与TIM蛋白发生相互作用,使TIM蛋白降解。在”per基因调控昼夜节律分子机制”部分图解中补充二聚体的名称。

18. (12分)痒觉对大家来说都不陌生,究竟什么是痒觉?痒觉是一种轻微的痛觉吗?痒觉产生后会让人忍不住抓挠,并形成一种”越挠越痒——越痒越想挠”的循环,这种”痒并快乐着”的神经生物学机制是什么?为了搞清楚这些问题,研究人员以小鼠为实验材料,进行了相关实验。

(1)痒觉是通过神经调节形成的。感受器受到致痒剂的刺激后,产生_______________,受刺激部位的膜外电位变化是_______________。

(2)研究人员首先在脊髓中发现了一种受体——胃泌素释放肽受体(GRPR),并通过下面的实验结果证明”GRPR特异性地参与痒觉信息的传递,与痛觉的产生无关,即痒觉并不是轻微的痛觉。”请将表格补充完整。

组别

致痒剂处理结果

致痛刺激结果

GRPR蛋白基因正常小鼠

自发抓挠,产生痒觉

有痛觉产生

没有任何反应

(3)为了证实痒产生时的厌恶感和抓挠后的愉悦感,研究人员利用下面的装置,设计了行为学实验。将小鼠随机分为两组,A组为普通小鼠,注射致痒剂,关在盒子1中30min,然后打开1、2之间的隔板;B组为带防挠罩的普通小鼠,注射致痒剂,关在盒子1中30min,然后打开1、2之间的隔板。(注:戴防挠罩可以阻止小鼠抓挠致痒剂注射部位的皮肤)


①为了防止盒子1、2的不同条纹等因素的干扰,实验前应记录A、B组小鼠_______________。

②如果_______________,则说明痒产生时会出现厌恶感,抓挠后可以产生愉悦感。

(4)研究人员还发现脑奖赏中心内的GABA能神经元和DA能神经元在痒觉发生过程中呈现两种不同的激活反应。他们认为两种神经元可能与痒产生时的厌恶感和抓挠后的愉悦感有关。已知特定波长的光可以用来抑制神经元的活性。综合以上信息写出证明”GABA能神经元的激活使小鼠产生痒厌恶感”的实验设计思路:_________________________________。

19. (12分)”稻鸭共生”是我国重点推广的生态农业模式之一,在防害增效、生态环保等方面效果显著。

(1)该稻田生态系统中,水稻和杂草之间存在_______________关系;稻飞虱是水稻的主要害虫,吸食水稻汁液,属于生态系统中的_______________者。

(2)为研究稻田养鸭对水稻产量、土壤和水稻病虫害防控等的影响,在稻苗密度、灌溉条件和田间日常管理均匀一致的水田,用田埂和铁丝网划分为有鸭活动区和无鸭活动区,实验分四组进行,一段时间后,测定相应的指标,结果如下表:

处理组别

土壤有机质相对含量/%

土壤微生物数量/

(106g-1

杂草密度/m2

稻飞虱相对密度/%

水稻产量/(kg·hm-2

稻鸭共生(DR)

127.6

细菌

真菌

放线菌

23.3

104.7

109.6

2

33

8507

受稻鸭共生区田面水影响,但无鸭子进入(ND)

119.3

细菌

真菌

放线菌

23.1

97.0

87.7

45

60

7667

受稻鸭共生区田面水影响,无鸭子进入,但人工除草(NDW)

118.7

细菌

真菌

放线菌

13.0

97.4

80.3

19

30

8241

不受稻鸭共生区田面水影响,水稻单作(CK)

100

细菌

真菌

放线菌

10.1

69.6

51.2

25

100

5977

①测定放鸭后一段时间内田面水中总氮含量,结果如下图所示,曲线A是指_______________组,曲线B为______________组(填处理组别字母)。据表可知稻田放鸭以后,鸭粪提高了_____________,进而提高了田面水中的总氮量。但是与施用化肥效果不同,在稻田鸭收获后,鸭粪能持续分解一段时间,因此,稻鸭共生的田面水总氮含量仍持续较高。


②请分析ND组水稻产量明显低于DR组和NDW组的原因_______________。

③下列对结果的分析和推测中,正确的有____________。

A. 提高水稻的种植密度对稻鸭系统的垂直结构不会产生影响

B. 与CK相比,ND处理阻挡了鸭子取食杂草,因此杂草密度最高

C. 鸭子排粪肥田,部分能量经粪肥流向水稻,利于能量的多级利用

D. 鸭子的游动改善田间通风透光条件,提高稻田的光合作用效率

E. 鸭子搅动水面,有利于加速微生物的增殖和分解作用、驱赶稻飞虱

F. 鸭子可作为水田化学除草剂和杀虫剂的良好替代品,减少环境污染

(3)请用箭头和文字表示”稻鸭共生”生态模式下的碳元素和能量流入生物群落的形式和途径。


20. (10分)阅读下列短文,回答问题。

获得2020年诺贝尔化学奖的CRISPR-Cas系统是一种高效的基因编辑技术。其中CRISPR-Cas9体系在作物遗传育种研究中应用较为广泛(原理如图)。CRISPR-Cas9体系是由靶基因的向导RNA和Cas9蛋白构成的复合体。向导RNA约为20个碱基,在基因组中负责寻找靶基因并与其结合;Cas9蛋白在向导RNA的引导下切割靶基因,使DNA双链断裂产生平末端。在随后DNA自我修复的过程中,容易随机引起一些碱基对的插入或缺失,导致基因功能改变。


近年来,人们对长粒香型稻米的需求量越来越大,研究者利用CRISPR-Cas9体系,改造东北广泛种植的”龙粳”稻米,使其在保留了原来抗倒伏、耐寒性强等特点的同时,具备了长粒、香味浓厚的特点。通过研究,科学家已经发现许多与粒长相关的基因,例如GS9基因,以及与稻米香味相关的Badh2基因。当破坏GS9基因的正常表达时,稻米表现出粒长增加的特性;当破坏Badh2基因的正常表达时,稻米产生更多的香味。因此,科学家利用CRISPR-Cas9技术在”龙粳”稻中沉默GS9和Badh2基因获得了更长更香的稻米。

但是CRISPR-Cas的功能不仅限于切割靶基因。一些研究者进行如下设计:使Cas蛋白的剪切域失活,将新的蛋白与该蛋白融合,这样Cas9可被用于将这些蛋白运输至特定的DNA序列。举例来说,Cas与转录激活因子融合,将RNA聚合酶带到目标位置,以启动基因的转录。Cas与脱氨酶融合,能使特定的DNA碱基变异——使胸腺嘧啶(T)取代胞嘧啶(C),这种精准基因编辑意味着我们能将致病突变转变为一个健康版本的基因,或将终止密码子引入特定部位。涌现出来的这些新想法表明,目前取得的成果可能只是CRISPR-Cas应用潜力的冰山一角,无论接下来取得什么进展,CRISPR-Cas掀起的革命远没有结束。

(1)为了获得长粒、香味浓厚的稻米,科学家利用CRISPR-Cas9体系构建了T0代水稻,水稻中同时含有GS9基因的向导RNA和Cas9蛋白复合体、_______________复合体,其中,2个向导RNA依据_______________原则寻找相应的靶基因,Cas9蛋白则在靶基因处发挥类似基因工程工具中_______________的功能。

(2)将T0代植株_______________,获得纯合的T1代水稻突变体植株。提取T1代植株基因组DNA,最终筛选出了2株GS9基因和Badh2基因突变的纯合体,测序结果如下图所示:


请推测改造后的”龙粳”稻米更长更香的原因。________________________

(3)结合文章,请说明如何利用CRISPR-Cas体系和荧光蛋白,确定基因A在染色体上的位置。______________________________

21. (12分)家蚕是二倍体(2n=28),性别决定为ZW型。家蚕一般进行有性生殖,也能进行没有雄性参与的孤雌生殖。科学家尝试用多种方法培育新的家蚕品种。

(1)通过构建家蚕某品种的纯系,可以发现并淘汰隐性致死基因和其它不良基因。育种方法如下图所示。


①染色体组成为ZW的卵原细胞经a途径减数分裂和d_______________作用,产生的子代中雌雄各占一半。

②b途径表示用46℃处理家蚕18min,热效应阻止了减数分裂时_______________,结果形成了一个二倍体原核和一个二倍体极体,二倍体原核发育成的子代e的基因型与母本相同。

③c途径用-11℃处理家蚕30min,得到的雄蚕基因型是____________(填”纯合”或”杂合”)的,使后代所有隐性性状都得以表现。

④将b途径和c途径得到的雌雄家蚕e和f杂交得到F1,F1与_______________回交得到F2,F2继续回交得到F3,多代后即可得到该品种家蚕的纯系(Z、W染色体除外)。

(2)家蚕中g和h是同源染色体上的两个非等位的隐性致死基因,gg或hh纯合致死。以同时携带g和h的雄蚕与不带有致死基因的雌蚕作为亲本进行杂交:

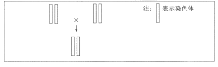
①若子代的性别为_______________,则g和h位于常染色体上。

②若子代全为雄蚕,请在图中标出g和h在性染色体上的位置关系。(野生型基因用”+”表示)


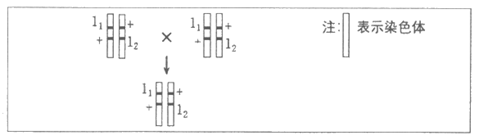
(3)研究人员找到了位于一对常染色体上的两个非等位的隐性致死基因l1和l2,请设计杂交亲本,用图示表示亲本将致死基因l1和l2同时传给所有存活后代的过程(野生型基因用”+”表示)。


【试题答案】

1

2

3

4

5

6

7

8

9

10

C

B

B

C

C

B

D

D

D

A

11

12

13

14

15

     

D

A

B

B

B

     

 

16. (11分)

(1)类囊体膜(1分) ATP、NADPH([H])(1分) 暗(1分)

(2)AC

(3)在缺氮培养液中培养2天 时间短、产量高、成本低

油脂不含有氮元素且储存能量多,利于小球藻在氮胁迫的不良环境下生存。

17. (13分)

(1)RNA聚合酶(1分) 核孔(1分) 核糖体(1分)

(2)

(3)①1079—1198

②应使用tim基因缺陷的真核细胞(排除真核细胞内源tim基因的干扰。)

应补充一组只转入per-gfp融合基因(或无tim基因)的对照组。

(4)PER-TIM二聚体 CRY-TIM二聚体

18. (12分)

(1)兴奋(1分) 由正变负(1分)

(2)①GRPR蛋白基因缺陷小鼠 ②有痛觉产生

(3)①打开隔板时在盒子1、2中停留的时间

②B组小鼠在盒子1中停留时间变短,A组小鼠在盒子1中停留时间变长

(4)用特定波长的光抑制B组小鼠的GABA能神经元,重复(3)中实验,小鼠对两个盒子的厌恶偏好丧失

19. (12分)

(1)竞争(1分) 消费(1分)

(2)①DR、ND、NDW(1分) CK(1分) 土壤有机质相对含量和土壤微生物数量

②无鸭子取食杂草和人工除草,杂草与水稻竞争;无鸭子和人工活动,稻飞虱密度高,稻飞虱吸食水稻,使水稻产量降低。

③DEF

(3)


20. (10分)

(1)Badh2基因的向导RNA和Cas9蛋白 碱基互补配对(1分) 限制酶(1分)

(2)自交

Cas9蛋白在向导RNA的引导下切割GS9和Badh2基因,在随后的DNA自我修复过程中,随机引入1个或缺失2个碱基,导致GS9和Badh2基因突变,进而造成GS9和Badh2基因编码的蛋白质的结构和功能改变。

(3)使Cas蛋白的剪切域失活,将荧光蛋白与其融合后,再与基因A的向导RNA构成复合体,便可通过荧光蛋白的位置来确定基因A在染色体上的位置。

21. (12分)

(1)受精(1分) 同源染色体的分离(1分) 纯合 f

(2)雄蚕和雌蚕


(3)


发表评论