北京市海淀区2021届下学期初中九年级期中练习化学试卷(一模)

本试卷共两部分,40道题,满分70分。考试时间70分钟。

可能用到的相对原子质量:H 1 C 12 O 16 Mg 24 Al 27 Si 28 C1 35.5

Mn 55 Fe 56

第一部分

本部分共25题,每题1分,共25分。在每小题列出的四个选项中,选出最符合题目要求的一项。

1. 空气成分中,体积分数约占78%的是(

A. 氮气 B. 氧气 C. 二氧化碳 D. 稀有气体

2. 下列物质在氧气中燃烧,产生大量白烟的是(

A. 木炭 B. 铁丝 C. 酒精 D. 红磷

3. 下列气体能供给动植物呼吸的是(

A. 氮气 B. 氧气 C. 一氧化碳 D. 氢气

4. 下列金属单质呈紫红色的是(

A. Cu B. Al C. Fe D. Mg

5. 为了防止骨质疏松、佝偻病,人体需要摄入的元素是(

A. B. C. D.

6. 下列物质属于纯净物的是(

A. 牛奶 B. 糖水 C. 氯化钠 D. 酱油

7. 铝能被加工成厚度仅为5m的超薄铝箔,说明铝具有良好的(

A. 导电性 B. 延展性 C. 导热性 D. 抗腐蚀性

8. 下列操作正确的是(


A稀释浓硫酸 B. 倾倒液体 C. 加热液体 D. 过滤

9. 下列金属单质不能与CuSO4溶液反应的是(

A. Al B. Zn C. Fe D. Ag

10. 下列数据是某些花卉适宜的土壤pH范围,其中呈碱性的是(

A. 八仙花

B. 百合

C. 茶花

D. 迎春

11. 下列食物富含蛋白质的是(

A. 米饭 B. 芹菜 C. 牛肉 D. 植物油

12. 化学肥料对粮食增产起着重要作用。下列物质能作钾肥的是(

A. NH4HCO3 B. CONH22 C. K2CO3 D. CaH2PO42

13. 我们要养成垃圾分类的好习惯。鱼刺、菜叶应投入的垃圾桶是(


14. 下列符号能表示2个氢原子的是(

A. H2 B. H2O2 C. 2H D. 2H+

15. 下列物质的俗称与化学式对应不正确的是(

A. 熟石灰——NaOH B. 纯碱——Na2CO3

C. 消石灰——CaOH2 D. 小苏打——NaHCO3

16. 下列物质的用途中,主要利用其物理性质的是(

A. 氢气用作燃料 B. 干冰用于人工降雨

C. 赤铁矿用于工业炼铁 D. 稀硫酸用于去除铁锈

17. 用医用酒精(主要成分为乙醇)擦拭物体表面时,能闻到乙醇气味的主要原因是(

A. 分子的质量很小 B. 分子间有间隔

C. 分子在不断运动 D. 分子由原子构成

18. 下列化学方程式书写正确的是(

A. 3Fe2O2Fe3O4 B. CaOH2HClCaCl2H2O

C. CO2CO2 D. KMnO4K2MnO4O2

19. 氧是地壳中含量最高的元素。一种氧原子的原子核内有8个质子和10个中子,该原子的核外电子数为(

A. 8 B. 10 C. 18 D. 2

20. 向澄清石灰水中加入下列物质时,会产生白色沉淀的是(

A. 稀盐酸 B. Na2CO3溶液 C. 蒸馏水 D. 石蕊溶液

21. 用下图装置验证可燃物燃烧的条件之一是温度达到其着火点(已知:白磷的着火点是40℃)。


下列方案正确的是(

 

选项

A

B

C

D

X

O2

O2

N2

N2

Y

20℃水

60℃水

80℃水

20℃水

22. 氮化硼(BN)是一种耐高温晶体,绝缘性能好,化学性质不活泼,但在加热条件下能与碱发生反应;其制备反应为:B2O32NH32BN3H2O。下列判断正确的是(

A. B2O3属于氧化物 B. 上述制备反应属于置换反应

C. 氮化硼可用作导线 D. 氮化硼坩埚可用来熔化NaOH

23. 下列实验步骤能达到实验目的的是(

选项

实验目的

实验步骤

A

检验NaCl中含有Na2CO3

加水溶解

B

鉴别NaOH溶液和CaOH2溶液

分别通入CO2

C

除去O2中的CH4

点燃

D

除去粗盐中的难溶性杂质

将粗盐溶解、蒸发

24. 光气(COC12)是一种重要的化工原料,与水反应前后分子种类变化的微观示意图如下:


下列说法不正确的是(

A. 甲中碳与氯的原子个数比为12

B. 乙的相对分子质量为18

C. 两种生成物均为化合物

D. 生成的丙与丁的分子个数比为11

25. 已知:2H2O22H2OO2。下图表示将一定质量的H2O2溶液和MnO2混合后,变量y随时间的变化趋势。变量y表示的是(


A. H2O2的质量

B. O2的质量

C. MnO2的质量

D. 溶液的总质量

第二部分

本部分共15题,共45分。

【生活现象解释】

26.2分)碳酸饮料是指在一定条件下充入CO2气体的饮料。


1)某碳酸饮料瓶的材料为聚酯塑料。塑料属于_________(填序号)。

a. 金属材料 b. 有机合成材料

2)碳酸饮料贮存时,应避免高温、加热,这与CO2的物理性质和碳酸的化学性质相关。其中,涉及到的碳酸的化学性质是_________

27. 2分)酸、碱、盐是生活中常见的三类物质。

1)下列物质中,可以用于治疗胃酸过多症的是_________(填序号)。

a. NaHCO3 b. H2SO4

2)洁厕灵的主要成分是盐酸,如果不小心将其洒在铁制品表面,会产生小气泡,该反应的化学方程式为_________

28. 2分)H2O2在医疗、军事、工业中应用广泛。科学家发现,在光照及Pt-TiO2做催化剂的条件下,能分解H2OH2O2

1TiO2中含有_________种元素。

2)补全分解H2OH2O2反应的化学方程式:2H2OH2O2________

【科普阅读理解】

29. 5分)阅读下面科普短文。

火星作为太阳系中与地球最相似的行星,是各航天大国深空探测任务的最主要目标之一。国内外专家提出开展原位资源利用研究,即通过利用火星当地资源生产火星探测所需原料和能源,以减少成本。

火星大气和矿物是原位资源利用的主要研究对象。目前,探测出火星大气的主要成分及含量如图1所示,火星土壤不同位置处矿物的主要成分及含量如表1所示。


1 火星大气主要成分的体积分数示意图

1 火星土壤不同位置处矿物的主要成分的质量分数(以氧化物计)

 

成分

样品种类

二氧化硅

SiO2

氧化铝

Al2O3

氧化镁

MgO

氧化亚铁

FeO

第一表层土壤

45. 5

8. 8

7. 2

20.1

勃朗峰土壤

44. 7

8. 8

7. 2

19.0

利用与地球上相似的冶炼原理,可以从火星土壤中获得多种金属单质。部分金属可以在CO2中燃烧,此反应可成为火星探测所需能量的来源之一。研究人员以火箭发动机为背景,分析了不同金属与CO2反应时,氧燃比(CO2与金属的质量比)对比冲的影响,比冲越高,发动机效率越高,结果如图2所示。


2 比冲随氧燃比的变化

火星原位资源利用技术仍面临诸多挑战,需要人们不断探索。

(原文作者王志琴等,有删改)

依据文章内容回答下列问题。

1)火星原位资源利用是指__________

2)由图1可知,火星大气中体积分数占比最高的气体是__________

3MgO中,镁元素与氧元素的质量比为__________

4)图2中,以Mg为燃料时,比冲与氧燃比的关系是__________

5)下列说法正确的是__________(填序号)。

a. 火星原位资源利用能减少成本

b. 由表1可知,火星土壤中至少含有3种金属元素

c. 由表1可知,火星土壤中镁元素含量最高

d. 火星原位资源利用技术已经非常成熟

【生产实际分析】

30. 2分)镁粉在火星上可以扮演地球上煤的角色,通过采用Mg/CO2金属粉末燃烧器可以为采矿车、电站等提供热能,其工艺流程如下:


已知:燃烧器中发生的反应为MgCO2MgOCO

1)燃烧器中,MgCO2反应后,镁元素的化合价_________(填升高降低)。

2)热气中一定含有的物质有________

31. 3分)工业上常以CH4为原料生产工业原料气H2,其部分工艺流程如下:


1)高温下,转化炉中发生反应的化学方程式为________

2)变换塔中,H2O变成H2发生的是_______(填物理化学)变化。

3)洗涤塔中,除去混合气中的CO2利用的CO2性质有________(写出1条即可)。

32. 3分)过氧化钙(CaO2)与H2O反应会释放出O2,常用作鱼塘供氧剂。制备CaO2的部分流程如下:


1I中,反应的化学方程式为__________

2中,H2O2溶液的溶质质量分数为3%,则100g H2O2溶液中,H2O2的质量为_______g

3)已知:CaO2·8H2O加热至130℃时开始分解,变为CaO2;加热至315℃时,CaO2逐步分解为CaO中,烘干时可选用的温度范围是________(填序号)。

a. 100120 b. 150200 c. 280350

【基本实验及其原理分析】

33. 2分)请从33-A33-B两题中任选一个作答,若均作答,按33-A计分。利用下图所示的部分装置可完成33-A33-B实验。


33-A二氧化碳的制取及性质实验

33-B氧气的制取及性质实验

1)实验室制取CO2时,选用的发生装置是________(填序号)。

2)将CO2通入⑤中,可观察到的现象是________

1)实验室制取O2时,选用的收集装置是________(填序号)。

2)将O2通入⑤中,可观察到的现象是________

34. 2分)用下图所示的自制水电解器进行实验,研究水的组成。


经检验,管a中气体为O2,管b中气体为H2

1)此实验中水发生的反应属于基本反应类型中的___________

2)由a中气体为O2,可得到关于水的元素组成的推论:水中含有________

35. 3分)用下图所示仪器配制50 g溶质质量分数为16%的NaC1溶液。


1)称量NaC1固体时,NaCl应放在托盘天平的_________(填)盘上。

2)量取水时,用到的仪器有胶头滴管和_________

3)需要用到玻璃棒的实验步骤是_________

36. 2分)如下图所示,在一只烧杯中连续进行实验,研究KNO3的溶解能力。


已知:20℃时,KNO3的溶解度为31.6g

1)步骤①~③均在20℃下进行。步骤②充分搅拌后,________(填没有)固体剩余。

2)加热步骤③所得固液混合物,观察到固体溶解,得到澄清溶液。由此可得到的结论是__________

37. 4分)如下图所示,向加有不同试剂的点滴板孔穴中分别滴加稀盐酸,研究物质的性质。


1)孔穴1中观察到的现象是________

2)孔穴2中的溶液变黄,反应的化学方程式为________

3)从金属活动性的角度解释孔穴34现象不同的原因是________

4)孔穴5中的现象为溶液由红色变为无色,则A可能是NaOH溶液和_________的混合液。

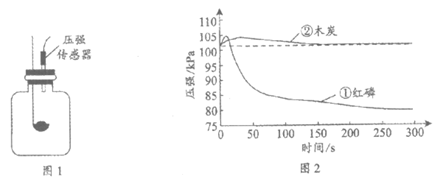
38. 3分)用图1所示装置分别进行足量的红磷或木炭在空气中燃烧的实验(装置冷却至室温后结束实验),测定集气瓶内的压强变化如图2所示。


1)实验前,_______(填需要不需要)检查图1装置的气密性。

2)图2曲线①数据表明,红磷燃烧后集气瓶内的压强低于起始压强,原因是________

3)某同学根据图2曲线②推断:不能用木炭测定空气中的氧气含量,其实验依据是________

【科学探究】

39. 7分)管道疏通剂可以有效地疏通由毛发、油脂等各种原因引起的下水管道堵塞。某小组欲探究某品牌固体管道疏通剂中CaOH2、铝粉、缓蚀阻垢剂的用量对疏通效果的影响,寻找三者的最佳质量比;并探究该品牌管道疏通剂对下水管道的腐蚀情况。

【查阅资料】CaOH2与铝粉混合遇水后发生化学反应,放出大量热和气体,可加快疏通毛发等物质。反应的化学方程式为:CaOH22Al2H2OCaAlO223H2

【进行实验1】按表中数据将各固体物质混合均匀后,加入20mL水,观察到有气体产生,并通过测定反应前后温度的变化比较疏通效果(温度升高值越大,疏通效果越好)。实验数据记录如下:

序号

CaOH2质量/g

铝粉质量/g

缓蚀阻垢剂质量/g

混合前后温度升高值/

1.3

0.55

0.18

63

1.3

0.75

0.18

78

1.3

0.95

0.18

89

1.3

1.15

0.18

83

1.3

0.95

0.04

86

1.3

0.95

0.09

87

1.3

0.95

0.27

87

【解释与结论】

1CaOH2溶液显_________(填序号)。

a. 酸性 b. 中性 c. 碱性

2)实验①~④的目的是_________

3)欲探究缓蚀阻垢剂的用量对疏通效果的影响,需对比的实验是⑤、⑥、⑦和_________(填实验序号)。

4)由实验1可知,CaOH2、铝粉、缓蚀阻垢剂的最佳质量比为1. 3__________________

【进行实验2】在其他条件相同时,改变下水管道材料,测定管道疏通剂对各材料的腐蚀率。实验结果记录如下:

材料

塑料

铝合金

腐蚀率

0. 1%

0.4%

0.5%

0.3%

100%

80%

【解释与结论】

5)进行实验2时,除了控制下水管道材料的形状、大小相同,水的体积相同,腐蚀时间相同,还需要控制相同的是__________

6)由实验2可得到的结论是__________

【反思与评价】

7)为该品牌管道疏通剂的保存提出注意事项:__________

【实际应用定量分析】

40. 3分)氧化铁粉末与铝粉在高温条件下发生反应,并放出大量的热。该反应可用于焊接钢轨、制备金属纳米复合材料等,反应的化学方程式为:

2Al+Fe2O32Fe+Al2O3

计算27g铝完全反应消耗氧化铁的质量(写出计算过程及结果)。

 

 

 

参考答案

第一部分

(每小题只有1个选项符合题意,共25个小题,每小题1分,共25分)

题号

1

2

3

4

5

6

7

8

9

10

答案

A

D

B

A

D

C

B

A

D

D

题号

11

12

13

14

15

16

17

18

19

20

答案

C

C

A

C

A

B

C

A

A

B

题号

21

22

23

24

25

     

答案

A

A

B

D

B

     

 

第二部分

评阅非选择题时请注意:


若无特别说明,每空1分。


文字表述题中其他答案合理也给分。


方程式中的产物多写、漏写“↑”“↓”不扣分。


化学专用词汇若出现错别字为0分。

26.2分)

1b

2)碳酸不稳定,易分解生成CO2H2O

27.2分)

1a

2Fe + 2HCl
==== FeCl2 + H2

28.2分)

12

2H2

29.5分)

1)通过利用火星当地资源生产火星探测所需原料和能源

2CO2

332(或2416,或其他合理答案)

4)在实验研究的氧燃比范围内,随着氧燃比的增大,比冲先增大后减小

5ab

30.2分)

1)升高

2CO

31.3分)

1CH4 + H2OCO + 3H2

2)化学

3)能溶于水(或能与水反应)

32.3分)

1CaCO3 + 2HCl ==== CaCl2 + CO2↑+ H2O

23

3b

33.2分)

33-A

33-B

1)②

2)蜡烛熄灭

1)③

2)蜡烛燃烧得更旺

34.2分)

1)分解反应

2)氧元素

35.3分)

1)左

250 mL量筒

3)溶解

36.2分)

1)没有

2)温度升高,KNO3的溶解能力增强(或溶解度增大)

37.4分)

1)紫色石蕊溶液变红

2Fe2O3 + 6HCl ==== 2FeCl3 + 3H2O

3)在金属活动性顺序中,铜位于氢后,不与稀盐酸反应;锌位于氢前,能与稀盐酸反应

4)酚酞溶液

38.3分)

1)需要

2)红磷燃烧消耗O2,且产物P2O5不是气体

3)反应前后压强没有变化

39.7分)

1c

2)探究铝粉用量对疏通效果的影响

3)③

40.950.18

5)管道疏通剂的质量

6)其他条件相同时,在实验研究的几种下水管道材料中,该品牌管道疏通剂对铝或铝合金制下水管道的腐蚀率远高于其他材质的下水管道

7)密封保存于干燥处

40.3分)

解:设 27 g铝完全反应消耗氧化铁的质量为x

2Al + Fe2O3
2Fe + Al2O3

54 160

27g x 1分)

1分)

x=80g 1分)

答:27 g铝完全反应消耗氧化铁的质量为80 g


 

发表评论